Active Puck
Active Markers
LED Specifications
Active Puck
Basic Specs
Spec
Description
Power Button



Status Indicator LEDs

1) Sync – (Bottom)
2) Power – (Top-Left)
3) Charging Status – (Top-Right)



Active Puck in Motive

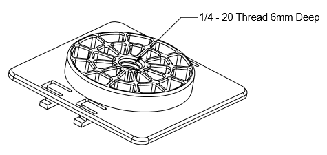
Active Puck Accessories




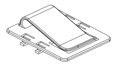
Mounting and Removing Adapter Plates

Mounting

Removing

Adapter Plate CAD File
Last updated
Was this helpful?

